-
精密鑄造閥體
閥體全部為精密鑄造閥體,二次拋丸處理、外觀精細,無沙眼、每批鑄件都有爐號標志可追溯;
-
閘板密封性有保障
閘板進行3次磨平、5次拋光、確保閘板與閥體緊密結合,保證其密封性;
-
閥桿不易變形
閥桿加裝軸承,并帶安全防塵罩,保護軸承,減少摩擦力,閥桿不易變形,增加使用壽命;
-
閥座不易脫落
閥座密封圈添加鋼絲,確保閥座與閥體的連接,不易脫落;
-
粉沫環氧樹脂靜電涂裝
閥體采用粉沫環氧樹脂靜電涂裝,噴涂厚度達到250μm,有效防止閥體與介質接觸造成的腐蝕與生銹;
-
雙向密封試壓測試
每臺閥門出廠前均進行雙向密封試壓測試。
-
-
-
產品優點
產品介紹
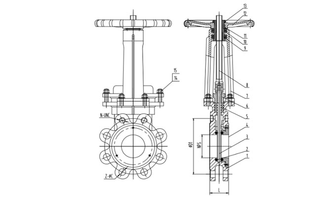
刀閘閥又稱刀型閘閥、漿液閥、泥漿閥,它的啟閉件是閘板,閘板的運動方向與流體方向相垂直,靠可以切割纖維材料的刀刃形閘板來切斷介質;閘板在側面導向槽內升降,并由底部的凸耳緊壓在閥座上,如需達到較高的介質密封性時,可選用O形密封閥座實現雙向密封。刀閘閥具有較小的安裝空間,工作壓力低,使用壽命長,維護簡單。
產品參數
| 執行標準 | 名稱 | 設計及制造 | 結構長度 | 法蘭連接 | ||||||||
| 參照標準 | JB/T 8691 | GB/T 12221 | GB/T 9113/ASME B16.5 | |||||||||
| 主要零部件信息 | 名稱 | 1-閥體 | 2-閥座密封 | 3-閘板 | 8-閥軸 | 12-手輪 | ||||||
| 材質及說明 | WCB/304/316 | EPDM | 304/316 | 2Cr13 | 球鐵 | |||||||
| 尺寸信息 | 公稱尺寸 | PN10 | PN16 | 150LB | ||||||||
| DN | NPS(英寸) | L | D1 | N-M | Z-φC | D1 | N-M | Z-φC | D1 | N-M | Z-φC | |
| 50 | 2'' | 48 | 125 | 2-M16 | 2-φ18 | 125 | 2-M16 | 2-φ18 | 120.7 | 2-M16 | 2-19 | |
| 65 | 2 1/2'' | 48 | 145 | 2-M16 | 2-φ18 | 145 | 2-M16 | 2-φ18 | 139.7 | 2-M16 | 2-19 | |
| 80 | 3'' | 51 | 160 | 2-M16 | 6-φ18 | 160 | 2-M16 | 6-φ18 | 152.4 | 2-M16 | 2-19 | |
| 100 | 4'' | 51 | 180 | 2-M16 | 6-φ18 | 180 | 2-M16 | 6-φ18 | 190.5 | 2-M16 | 6-19 | |
| 125 | 5'' | 57 | 210 | 2-M16 | 6-φ18 | 210 | 2-M16 | 6-φ18 | 215.9 | 2-M20 | 6-22 | |
| 150 | 6'' | 57 | 240 | 2-M20 | 6-φ22 | 240 | 2-M20 | 6-φ22 | 241.3 | 2-M20 | 6-22 | |
| 200 | 8'' | 70 | 295 | 2-M20 | 6-φ22 | 295 | 4-M20 | 8-φ22 | 298.4 | 2-M20 | 6-22 | |
| 250 | 10'' | 70 | 350 | 4-M20 | 8-φ22 | 355 | 4-M24 | 8-φ26 | 361.9 | 4-M22 | 8-25 | |
| 300 | 12'' | 76 | 400 | 4-M20 | 8-φ22 | 410 | 4-M24 | 8-φ26 | 431.8 | 4-M22 | 8-25 | |
| 350 | 14'' | 76 | 460 | 6-M20 | 10-φ22 | 470 | 6-M24 | 10-φ26 | 476.2 | 4-M27 | 8-29 | |
| 400 | 16'' | 89 | 515 | 6-M24 | 10-φ26 | 525 | 6-M27 | 10-φ30 | 539.7 | 6-M27 | 10-29 | |
語言:簡體中文
English
Русский
簡體中文












