-
主體材質達標
主體材質化學成分和力學性能達到國家規定標準要求,保化驗;
-
產品精度有保證
所有閥體及零部件均采用數控機床加工并通配互換,確保產品精度;
-
閥門可長期儲存
整臺產品裝配前用煤油和防銹油經高壓噴射清洗,試壓后清洗試壓介質,噴上防銹油,內腔清潔度達到JB/T7748標準要求,符合閥門長期儲存要求;
-
按照國家標準試壓
每臺閥門出廠必須按照國家標準試壓,不合格產品絕不出廠;
-
專用水線封堵保護
每臺閥門均采用專用水線封堵保護,杜絕在運輸過程中出現連接面損傷;
-
螺紋可定制
可根據客戶需求提供G螺紋、NPT螺紋、BSP等定制螺紋。
-
-
-
產品優點
產品介紹
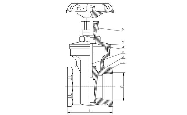
不銹鋼絲扣閘閥的啟閉件是塞形的閥瓣,密封面呈平面或錐面,閥瓣沿流體的中心線作直線運動。結構簡單,制造和維修比較方便,且工作行程小,啟閉時間短。 密封性好,密封面間磨擦力小,壽命較長。
產品參數
| 執行標準 | 名稱 | 設計及制造 | 試壓標準 | |||
| 參照標準 | GB/T 12235 | GB/T 13927 | ||||
| 主要零部件信息 | 名稱 | 1-閥體 | 2-閥板 | 3-閥桿 | 4-中口墊 | 5-閥蓋 |
| 材質及說明 | CF8 | CF8 | 304 | PTFE | CF8 | |
| 尺寸信息 | DN | G | L | |||
| 15 | 1/2'' | 52 | ||||
| 20 | 3/4'' | 57 | ||||
| 25 | 1'' | 61 | ||||
| 32 | 1 1/4'' | 70 | ||||
| 40 | 1 1/2'' | 74 | ||||
| 50 | 2'' | 83 | ||||
| 65 | 2 1/2'' | 106 | ||||
| 80 | 3'' | 118 | ||||
| 100 | 4'' | 126 | ||||
語言:簡體中文
English
Русский
簡體中文












